Ответить на тему  [ Сообщений: 376 ]  На страницу Пред.  1, 2, 3, 4, 5 ... 19  След.
Робот-шпион. Сборка робота. Электронные платы 
Автор Сообщение
Аватара пользователя

Зарегистрирован: 18 июл 2010, 18:17
Сообщения: 1545
Откуда: Ростовская обл. г. Волгодонск
Сообщение Робот-шпион. Сборка робота. Электронные платы
Обсуждение электронных плат.


22 мар 2012, 07:07
Профиль
Аватара пользователя

Зарегистрирован: 10 фев 2012, 12:43
Сообщения: 80
Откуда: Москва
Сообщение Re: Робот-шпион. Сборка робота. Этап 8. Электронные платы
Paneg писал(а):
... меня вот волнует как он, не дай баг, будет спускаться с наклонной поверхности?

Навели на мысль! Нельзя будет поворачивать на большой угол при достаточно крутом спуске. Потому что, когда хвост выйдет за пределы одного из колес (за вертикали, проходящие через центры колес), робота просто развернет. Имхо. Интересно попробовать. :)


04 апр 2012, 12:11
Профиль
Аватара пользователя

Зарегистрирован: 29 мар 2012, 11:54
Сообщения: 780
Откуда: Москва
Сообщение Re: Робот-шпион. Сборка робота. Этап 8. Электронные платы
Крайне огорчило качество монтажа платы управления двигателями.

Чем они ее паяли?!
Флюс от навесного не отмыт, качество пайки напоминает работу ПТУшников. Плата чем-то конкретно пошкрябана. Ни разу не видел на китайских платах такой похабщины...


13 апр 2012, 07:32
Профиль
Аватара пользователя

Зарегистрирован: 21 апр 2011, 08:38
Сообщения: 75
Откуда: Воронеж
Сообщение Re: Робот-шпион. Сборка робота. Этап 8. Электронные платы
Пока вот так : распиновка и плата -
Робот-шпион. Сборка робота. Электронные платы

Vss подтянуто к шине - DATA и CLOCK через какие-то резисторы...

P.S. Не благодарная это работа трезвоном заниматься...IMHO


15 апр 2012, 16:03
Профиль ICQ

Зарегистрирован: 27 фев 2012, 14:22
Сообщения: 27
Откуда: Москва
Сообщение Re: Робот-шпион. Сборка робота. Этап 8. Электронные платы
YrOM1k писал(а):
Vss[/color] подтянуто к шине - DATA и CLOCK через какие-то резисторы...


я тоже чуть чуть порисовал
clock не нашел что он притянут.


Фото:
Робот-шпион. Сборка робота. Электронные платы
Робот-шпион. Сборка робота. Электронные платы IMG.jpg [ 46.65 Кб | Просмотров: 6517 ]
15 апр 2012, 20:20
Профиль
Аватара пользователя

Зарегистрирован: 29 мар 2012, 11:54
Сообщения: 780
Откуда: Москва
Сообщение Re: Робот-шпион. Сборка робота. Этап 8. Электронные платы
Однако, слухи о отсутствии в продаже 12 выпуска - правда.
Хотел купить плату, сдуть с нее все и срисовать схему - не смог купить...


16 апр 2012, 07:51
Профиль

Зарегистрирован: 04 мар 2012, 01:25
Сообщения: 373
Сообщение Re: Робот-шпион. Сборка робота. Этап 8. Электронные платы
TheTERMINATOR писал(а):
Однако, слухи о отсутствии в продаже 12 выпуска - правда.
Хотел купить плату, сдуть с нее все и срисовать схему - не смог купить...

...Ну всё очень похоже на другой партворк, танк Тигр, в продаже есть всегда свежий номер, а старых нет...
...Завтра вторник, микруха пойдёт, не пропусти ;)


16 апр 2012, 09:25
Профиль
Аватара пользователя

Зарегистрирован: 29 мар 2012, 11:54
Сообщения: 780
Откуда: Москва
Сообщение Re: Робот-шпион. Сборка робота. Этап 8. Электронные платы
rubra писал(а):
в продаже есть всегда свежий номер, а старых нет...
...Завтра вторник, микруха пойдёт, не пропусти ;)

Прошлый 11 выпуск лежит...

Микруху не пропущу, мне в палатке откладывают, договорился.


16 апр 2012, 09:33
Профиль

Зарегистрирован: 20 апр 2012, 09:50
Сообщения: 14
Сообщение Re: Робот-шпион. Сборка робота. Этап 8. Электронные платы
есть возможность прикупит еще одну плату в продаже есть номера 12-е есть паяльный фен чтобы все здуть если хотите замарочится могу зделать и выложить сканы с плат


20 апр 2012, 15:55
Профиль

Зарегистрирован: 12 апр 2012, 17:28
Сообщения: 41
Откуда: Пермь
Сообщение Re: Робот-шпион. Сборка робота. Этап 8. Электронные платы
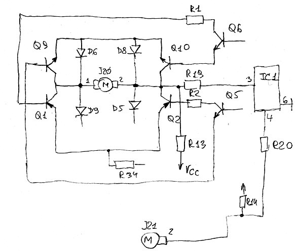
из соседней темы....
схема первой платы, критика и исправление ошибок принимаются

http://radikal.ru/F/s019.radikal.ru/i64 ... 1.jpg.html

Добавлено спустя 3 минуты 52 секунды:
начал разбираться с протоколом I2C.... пока нашел только команды реверса для каждого из двигателей....


20 апр 2012, 16:57
Профиль
Аватара пользователя

Зарегистрирован: 14 янв 2012, 06:06
Сообщения: 56
Откуда: Екатеринбург
Сообщение Re: Робот-шпион. Сборка робота. Этап 8. Электронные платы
А какие команды удалось вычислить? Напишите команды I2C. Процессор по ходу вот этот EM78P159NAS.
Он точно OTP то есть одноразовый.


20 апр 2012, 17:29
Профиль

Зарегистрирован: 27 фев 2012, 14:22
Сообщения: 27
Откуда: Москва
Сообщение Re: Робот-шпион. Сборка робота. Этап 8. Электронные платы
Alarus писал(а):
. Процессор по ходу вот этот EM78P159NAS.

на 3 и 4 ножке дожен быть АЦП так что более похоже на EM78P374


20 апр 2012, 18:38
Профиль

Зарегистрирован: 12 апр 2012, 17:28
Сообщения: 41
Откуда: Пермь
Сообщение Re: Робот-шпион. Сборка робота. Этап 8. Электронные платы
dmitryp писал(а):
на 3 и 4 ножке дожен быть АЦП так что более похоже на EM78P374


даташит имеется? нашел... не оно, у нее есть аппаратный I2C, но не на тех выводах. Если только I2C в роботе не программный...


20 апр 2012, 18:52
Профиль

Зарегистрирован: 27 янв 2012, 20:32
Сообщения: 34
Сообщение Re: Робот-шпион. Сборка робота. Этап 8. Электронные платы
Как только появится вторая платка с контроллером - тогда и надо будет снифирить I2C
а пока - это только пальцем тыкать в небо)


20 апр 2012, 21:23
Профиль

Зарегистрирован: 10 мар 2012, 12:49
Сообщения: 1
Сообщение Re: Робот-шпион. Сборка робота. Этап 8. Электронные платы
Это точно - второй контроллер как раз и будет Master шины I2C, значит будет генерить адреса, синхро и организовывать обмен. По крайней мере так из анонса следует. А связь с радиомодулем будет по шине SPI.


20 апр 2012, 21:41
Профиль

Зарегистрирован: 20 апр 2012, 09:50
Сообщения: 14
Сообщение Re: Робот-шпион. Сборка робота. Этап 8. Электронные платы
наиболее интересный узел здесь не дистанционное управление а сканирующий лидар я только на него и повелся когда решал собирать или нет робота


22 апр 2012, 04:44
Профиль

Зарегистрирован: 16 апр 2012, 21:04
Сообщения: 78
Откуда: г. Дзержинск Нижегородской обл
Сообщение Re: Робот-шпион. Сборка робота. Этап 8. Электронные платы
emax писал(а):
из соседней темы....
схема первой платы, критика и исправление ошибок принимаются

http://radikal.ru/F/s019.radikal.ru/i64 ... 1.jpg.html

Добавлено спустя 3 минуты 52 секунды:
начал разбираться с протоколом I2C.... пока нашел только команды реверса для каждого из двигателей....


Критика схемы: разьемы желательно подписать. Компоновка схемы немного "режет глаз", но это просто мое "старческое" ворчание smile_07

Насчет АЦП (3,4) - немного непонятна логика работы. Может схема немного неверно разрисована? По логике в цепи мотора должно быть низкоомное сопротивление, сигнал с которого идет на АЦП. Именно так и должна быть реализована защита. Обычно оно ставится в точку соединения нижних транзисторов с землей. Может низкоомное сопротивление приняли при прозвонке за дорожку? Или данное сопротивление реализовано "конструктивно" ? В виде тонкого участка дорожки?


22 апр 2012, 09:01
Профиль

Зарегистрирован: 26 янв 2012, 16:51
Сообщения: 104
Сообщение Re: Робот-шпион. Сборка робота. Этап 8. Электронные платы
intel писал(а):
наиболее интересный узел здесь не дистанционное управление а сканирующий лидар я только на него и повелся когда решал собирать или нет робота

Да что -то он у него какой-то плешивый до 0.5 метра и непонятно измеряет ли он расстояние или это просто датчик препятствия на моторчике.


22 апр 2012, 12:00
Профиль

Зарегистрирован: 16 апр 2012, 21:04
Сообщения: 78
Откуда: г. Дзержинск Нижегородской обл
Сообщение Re: Робот-шпион. Сборка робота. Этап 8. Электронные платы
Обычный ультразвуковой датчик растояния. Типа такого (HC-SR04) (или аналог)
Робот-шпион. Сборка робота. Электронные платы

Спецификация:
напряжение питания: 5 В
потребляемый ток: <2 мА
эффективный угол: <15°
измеряемое расстояние: 2 см...500 см
точность: 0,3 см

Стоит на серве, которая его поворачивает в разные стороны.

Из минусов: хорошо видят только плоские перпендикулярные плоскости. Плоскость "под углом" видят гораздо хуже, так как отраженный импульс уходит в сторону. Аналогично плохо видит поглощающие или прозрачные для ультразвука препятстия. Например шторы или ковер на стене.

Котов практически не видит из-за особенностей камуфляжа smile_08 Хотя для сфинксов или короткошерстных может и исключение.


22 апр 2012, 12:18
Профиль

Зарегистрирован: 26 янв 2012, 16:51
Сообщения: 104
Сообщение Re: Робот-шпион. Сборка робота. Этап 8. Электронные платы
DanilinS писал(а):
Обычный ультразвуковой датчик растояния. Типа такого (HC-SR04) (или аналог)
Робот-шпион. Сборка робота. Электронные платы

Спецификация:
напряжение питания: 5 В
потребляемый ток: <2 мА
эффективный угол: <15°
измеряемое расстояние: 2 см...500 см
точность: 0,3 см

Стоит на серве, которая его поворачивает в разные стороны.

Из минусов: хорошо видят только плоские перпендикулярные плоскости. Плоскость "под углом" видят гораздо хуже, так как отраженный импульс уходит в сторону. Аналогично плохо видит поглощающие или прозрачные для ультразвука препятстия. Например шторы или ковер на стене.

Котов практически не видит из-за особенностей камуфляжа smile_08 Хотя для сфинксов или короткошерстных может и исключение.

Обломитесь, внимательно читаем 3 номер 7 страница один из дезориентирующих факторов зеркало.
Соответственно датчик ИК пара.


22 апр 2012, 17:49
Профиль

Зарегистрирован: 20 апр 2012, 09:50
Сообщения: 14
Сообщение Re: Робот-шпион. Сборка робота. Этап 8. Электронные платы
нет ультразвуковой сонар был в прежнем роботе куботе в этом писали что будет инфракрасный сканирующий лидар так что скорее будет ик дальномер типо шарпавской сборки он тоже кстати только на пол метра бьет сервы боюсь тоже не будет зато будет механический привод со своими шестерёнками своим оптическим датчиком угла поворота и своим моторчиком если приглядеться то на колесике с прорезями как у мышки даже нулевая отметка есть для синхронизации и у этой штуки судя по всему будет отдельный мозг так что выпусков 20 как минемум мы будем собирать эту систему


Последний раз редактировалось intel 23 апр 2012, 10:18, всего редактировалось 1 раз.



23 апр 2012, 06:10
Профиль
Показать сообщения за:  Поле сортировки  
Ответить на тему   [ Сообщений: 376 ] 
На страницу Пред.  1, 2, 3, 4, 5 ... 19  След.


   Похожие темы   Автор   Ответы   Просмотры   Последнее сообщение 
Нет новых сообщений Звезда, Т-90А 1/72, "сборка без клея".

[ На страницу: 1, 2 ]

в форуме Бронетехника 1/72

bw777

30

50264

08 ноя 2015, 00:45

bw777 Перейти к последнему сообщению

Нет новых сообщений Корабль Адмирала Нельсона "Виктори" - Сборка секции корабля (сечение по мидель-шпангоуту) МАСШТАБ 1/72

[ На страницу: 1 ... 6, 7, 8 ]

в форуме Корабль адмирала Нельсона «Виктори»

Berkut

148

139165

23 сен 2019, 05:23

adept Перейти к последнему сообщению

Нет новых сообщений "Постепенный мастер". Японская сборка по инструкции.

[ На страницу: 1 ... 12, 13, 14 ]

в форуме Собери Жемчужину - Процесс сборки, Фотоотчеты пользователей

PapaNiki

270

221723

14 янв 2020, 07:14

falcon762 Перейти к последнему сообщению

Нет новых сообщений Сборка корабля "Черная Королева" от garryniy

в форуме Корабли не из партвоков

Aeroplanus

13

27860

26 авг 2014, 17:16

sergandr Перейти к последнему сообщению

Нет новых сообщений "Летучий голландец" - Сборка, полезные советы.

[ На страницу: 1, 2, 3 ]

в форуме Общие темы и Прочие серии-сборки кораблей

Rolf

53

76726

20 дек 2018, 09:23

Kaktak Перейти к последнему сообщению


Кто сейчас на конференции

Зарегистрированные пользователи: Google [Bot], Google Image [Bot], NOS, Yandex [Bot]

игры бейблэйд карточная битва, парусник нельсона, сколько выпусков куклы в народных костюмах, куклы в народных костюмах деагостини купить
Вы не можете начинать темы
Вы не можете отвечать на сообщения
Вы не можете редактировать свои сообщения
Вы не можете удалять свои сообщения
Вы не можете добавлять Фото

Найти:
Журнальные серии ДеАгостини и другие коллекционные издания Партворки.

2010-2022 Форум о журнальных коллекциях Deagosini, Ашет коллекция, Eaglemoss и других издательств.

При использовании материалов сайта активная ссылка на сайт обязательна!

Рейтинг@Mail.ru